Pedales para inodoros
Un dispositivo diseñado para la apertura y el cierre del asiento y la tapa de un inodoro sin necesidad de utilizar las manos.
[PATENTADO]

El problema
En baños públicos y compartidos, levantar o bajar la tapa y el asiento del inodoro implica tocar una de las superficies más contaminadas del entorno. Muchas personas evitan hacerlo, otras lo hacen con papel, y otras simplemente lo dejan como está. El resultado: incomodidad, falta de higiene y una mala experiencia para el siguiente usuario.
La solución
Un sistema de pedales que permite abrir y cerrar la tapa y el asiento del inodoro sin usar las manos. Con un simple movimiento del pie, el usuario acciona el mecanismo de forma cómoda, rápida e higiénica. Una solución práctica, moderna y fácil de instalar que mejora la experiencia en cualquier baño, especialmente en espacios públicos de alto tránsito.

¿En qué consiste este producto patentado?
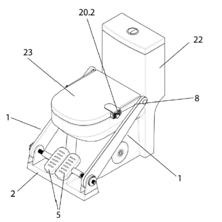
Este producto consiste en un dispositivo mecánico instalado a ambos lados del inodoro que incorpora dos sistemas de transmisión independientes, uno para el asiento y otro para la tapa. Cada sistema conecta un pedal inferior con una palanca superior mediante ejes, engranajes y un mecanismo de transmisión que convierte el movimiento del pie en una elevación controlada. Los elementos de vinculación se fijan al asiento y a la tapa sin necesidad de modificar el inodoro, permitiendo su apertura y cierre de forma sincronizada o independiente. El diseño está pensado para garantizar estabilidad, precisión en el movimiento y una instalación adaptable a distintos modelos de inodoro.


Ventajas
Eficacia
El dispositivo ha sido sometido a pruebas funcionales demostrando un funcionamiento estable, preciso y duradero. Los ensayos han validado la correcta transmisión del movimiento, la resistencia de los componentes y la comodidad de accionamiento con el pie. Tras estos resultados, el sistema ha comenzado a instalarse en las oficinas de una multinacional de prestigio en España como parte de su apuesta por mejorar los estándares de higiene y experiencia en sus espacios corporativos.
Modelo de negocio
Se ofrece un accesorio adaptable a inodoros ya existentes, sin necesidad de sustituirlos ni realizar obras complejas. Esto lo convierte en una solución práctica, escalable y fácil de implantar en cualquier tipo de instalación. Supone una inversión asumible para empresas y espacios públicos, permitiendo mejorar la higiene y la experiencia del usuario. Es una mejora estratégica sencilla de implementar, pero con un impacto visible en imagen, comodidad y estándares sanitarios.
Mercado global
Este proyecto responde a una necesidad universal: mejorar la higiene en baños públicos y compartidos. Cualquier país, empresa o institución que gestione espacios con tránsito de personas puede beneficiarse de una solución que elimina el contacto directo con el inodoro. Al ser un accesorio adaptable y no depender de normativas específicas de fontanería o fabricación de sanitarios, su comercialización puede escalarse fácilmente a mercados globales.
Protección legal sólida
El producto cuenta con protección jurídica mediante el expediente U202530582, lo que otorga un derecho de exclusividad sobre la solución técnica desarrollada e impide que terceros la fabriquen o comercialicen sin autorización. Además, al encontrarse dentro del plazo legal de prioridad, la protección española es susceptible de ampliarse a otros países, permitiendo solicitar su extensión internacional y optar a un monopolio de explotación en los mercados que se consideren estratégicos.
Oportunidad de negocio
Buscamos inversores, fabricantes o empresas interesadas en impulsar el lanzamiento masivo de este producto con alto potencial de rentabilidad.
Se ofrece la posibilidad de adquisición de la patente, licencia de explotación o colaboración estratégica para su comercialización.
Si quieres formar parte del proyecto, te invitamos a una reunión online para explorar esta magnífica oportunidad.

Únete a este proyecto de alta rentabilidad
Contáctanos y recibirás toda la información que necesites.
Inventor
David Alarcón
Telf. (+34) 643105441
davidalaagu@gmail.com
Agencia de Patentes
Telf. (+34) 911010229
info@patentatuinvento.com
NIF: B86109675
Teléfonos: 911010229 – 634175892
P. de la Castellana, 79 Pl. 7 28046 Madrid
Aviso legal | Cookies | Privacidad